Print current pageProduct Description
- brief introduction
- technical parameter
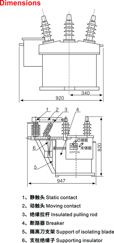
- Product size
Application
VS1-12 series indoor AC high voltage vacuum breaker is used in the system of AC 50Hz, rated voltage 12KV, three phases, to protect and control the network equipment ad power distribution in industrial mining enterprises. It can operate frequently at rated voltage, or break the short circuit current many times
The operating mechanism is assembled on the breaker body integrally then to be fixedly mounted, also installed on push-in mechanism and form a breaker trolley
Type and meaning
Normal service conditions
ZW8-12/630-20 Series outdoor high voltage vacuum circuit breaker is main switch equipment of rated voltage 12KV, three phases AC 50Hz system, to switch on/off loading current, no-load current, and short circuit current, also used as the branch switch for rural power network or small power system, is a substitute for oil type breakers.


中文
ENGLISH
Email:
website:
Service hotline





